- DZ13241440318 后悬总成/空气
- 190003171356 塑料紧固带A5*280 N05199 4 件
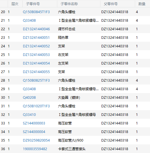
- 190003559482 卡套式三通管接头 1 件
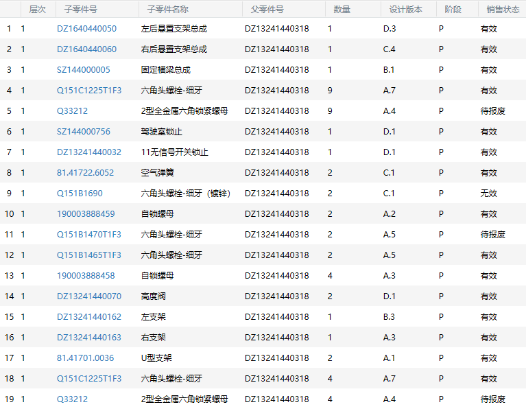
- 190003888458 自锁螺母 4 件
- 190003888459 自锁螺母 2 件
- 81.41701.0036 U型支架 2 件
- 81.41722.6052 空气弹簧 2 件
- 81.98181.6065 T型接头 1 件
- DZ13241440032 无信号开关锁止 1 件
- DZ13241440046 调节杆总成 1 件
- DZ13241440051 隔热罩 1 件
- DZ13241440052 支架 1 件
- DZ13241440053 右支架 1 件
- DZ13241440054 左支架 1 件
- DZ13241440055 支架 1 件
- DZ13241440070 高度阀 2 件
- DZ13241440162 左支架 1 件
- DZ13241440163 右支架 1 件
- DZ1640440050 左后悬置支架总成 1 件
- DZ1640440060 右后悬置支架总成 1 件
- DZ93259820054 高压软管/U/900 1 件
- Q150B0825T1F3 六角头螺栓 4 件
- Q150B0845T1F3 六角头螺栓 4 件
- Q150B1020T1F3 六角头螺栓 1 件
- Q151B1465T1F3 六角头螺栓-细牙 2 件
- Q151B1470T1F3 六角头螺栓-细牙 2 件
- Q151B1690 六角头螺栓-细牙(镀锌) 2 件
- Q151C1225T1F3 六角头螺栓 9 件
- Q151C1225T1F3 六角头螺栓 4 件
- Q33212 2型全金属六角锁紧螺母 9 件
- Q33212 2型全金属六角锁紧螺母 4 件
- Q33408 I型全金属六角锁紧螺母(镀锌) 4 件
- Q33408 I型全金属六角锁紧螺母(镀锌) 4 件
- Q33410 I型全金属六角锁紧螺母 1 件
- Q40208 大垫圈(镀锌) 1 件
- SZ144000003 高压软管 1 件
- SZ144000004 高压软管 1 件
- SZ144000005 固定横梁总成 1 件
- SZ144000751 聚酰胺管 1 件
- SZ144000752 聚酰胺管 2 件
- SZ144000755 聚酰胺管 1 件
- SZ144000756 驾驶室锁止 1 件




