
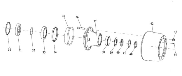
- DZ90129340064 油封(右) Grease packing 1 件
- DZ90129340063 油封(左) Grease packing 1 件
- DZ9112340017 隔环 Space ring 2 件
- 199012340027 密封圈 Packing ring 2 件
- 30222 圆锥滚子轴承 Row-steep roller bearing 2 件
- DZ9112340008 齿圈 Gear ring 2 件
- DZ9112340010 挡油盘 Oil baffle disc 2 件
- H150A22105AZF3 车轮螺栓 Wheel bolt 20 件
- HD90129340190 轮毂 Wheel hub 2 件
- 33019 圆锥滚子轴承 Row-steep roller bearing 2 件
- DZ9112340016 止推垫环 Thrust gasket ring 2 件
- DZ9112340014 锁紧螺母 Nut 4 件
- DZ9112340018 止退垫圈 Thrust washer 2 件
- HD90129340412 制动鼓 Brake drum 2 件
- DZ9112340503 车轮螺母 Wheel nut 20 件
- Q2541020 十字槽沉头螺钉 Slit bolt 4 件


非轴承单元结构
A191200130/HDZ425单级减速驱动桥(1831、i=4.625、150端面、ABS、ASA、轻量化主减、轻量化桥壳)